宁波玖沃防爆科技有限公司
English

工业通信及调度系统源头制造商

全国咨询热线:400-118-2011

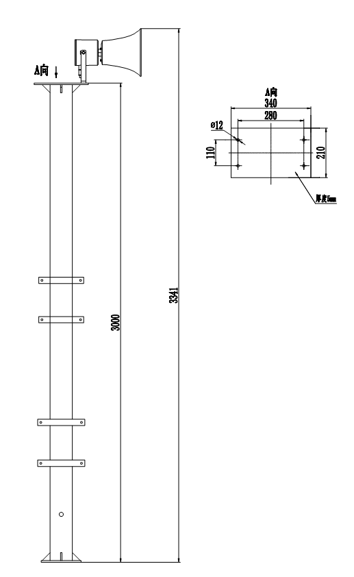
JWPTF01 立柱

产品名称:立柱
产品型号:JWPTF01
外形尺寸:3000x250mm
材 质:Q235
颜 色:灰色

产品详情

1.杆体选用Q235优质钢材制造;

2.柱体采用大型数控折弯机一次成型;

3.焊监机自动焊接,整个杆均按相关设计标准执行;

4.主杆与底法兰采用双面焊接,外焊加强筋;

5.产品强抗风,坚固耐用,安装简便;

6.柱体采用内置式M6内六角螺栓固定、防盗。

 

 

 

 

 


话机安装

 

 

2.1.1本机共3个防爆出线孔,光纤电源复合线缆从左边两个G3/4出线孔进出线;用G3/4的防爆挠性管连接;扬声器进线从右边一个G3/4出线孔进线,用G3/4的防爆挠性管连接;如有未使用的出线孔必须用防爆螺堵封堵。

G3/4出线孔引入电缆外径应为8-13mm。

内接地端子必须可靠接地。

外接地端子必须可靠接地,接地电阻≤4Ω。

线缆紧固方式:

①线缆(包括光纤进线、电源进线、防爆扬声器进线)先穿过防爆挠性管。

②线缆再依次穿过转接头、平垫片、防爆密封圈。

③再将线缆穿入相应的出线孔,预留适当长度。

④将转接头拧紧在出线孔上,此时线缆已经紧固在出线孔上,不易拉扯动。

⑤最后将防爆挠性管紧固在转接头上。

 


扬声器安装

 

1)用配件里的2颗M8螺栓将支架安装在防爆扬声器上,先适当紧固,不要完全紧固,

后面还须调整角度。

2)将整个扬声器按安装在墙壁上,安装孔尺寸按图2,根据现场情况用3个M8螺杆或螺母锁紧支架。

3)拆开盖子上的螺杆,即可进行接线。线缆规格为ZR-RVV2*1.5,线缆依次穿过接头、平垫片、防爆密封圈后,再从防爆扬声器的出线孔穿入,固定在接线端子上。

5)接好线后再将盖子锁紧。注意:密封圈不能脱落。

6)再继续调整防爆扬声器的角度到合适位置,再紧固步骤1)中的2颗M8螺栓,直至将整个防爆扬声器牢固地固定。

 

       宁波玖沃防爆科技有限公司,成立于2011年8月30日,总部位于浙江省余姚市阳明西路695号。我们是一家专注于研发、生产和销售工业调度通讯系统、防爆电话机、防水电话机、监狱电话机、银行电话机、洁净电话机、话机配件等产品的源头生产企业。公司拥有建筑面积达20000平方米的场地,先进的现代化生产加工设备和一支高素质的研发团队。

       作为综合能力出重的企业,我们集模具开发、注塑、压铸、五金加工制造于一体。我们的产品设计研发、加工制造、组装、检测、安装调试及技术服务等环节,产品性能出重,成本效益出众。90%以上的产品零部件由公司自行生产,确保了质量和交货的可控性,以满足客户多样化的需求。

       多年来,玖沃防爆科技秉持“一切以客户为中心”的核心价值观,与客户建立了长期的战略合作关系。我们始终关注客户需求,在产品质量、交货周期和服务方面不断追求更好。我们引以为豪的“玖沃”品牌已成为国内外众多知名企业的合作伙伴。我们的产品广泛应用于部队、石油、化工、医药、洁净室、电力、管廊、隧道、船舶、银行、监狱等关键行业,畅销国内各省市以及20多个国家和地区。

       玖沃防爆科技一直积极探索创新,在制造领域不断进步。我们也非常重视品牌形象和团队建设,通过不断提升员工的专业素养和团队合作精神,进一步加强了我们的市场竞争力。

       玖沃防爆科技将继续秉持“质量为本、客户至上”的原则,不断加强创新研发,提供更好的产品和更满意的服务,为客户创造更大的价值。我们期待与您携手合作,共同打造行业的先锋,为实现共赢发展而努力奋斗。

 


联系方式

宁波玖沃防爆科技有限公司

电话:400-118-2011

电子邮箱:zys@joiwo.com

地址:浙江省余姚市阳明西路695号

采购:产品应用案例

相关产品/ RELATED PRODUCTS